欢迎来到!深圳戴泰科电子技术有限公司官网官网!
技术热线:0755-23426380
  1. 您的位置:
  2. 网站首页
  3. >
  4. SEO软文
  5. >
  6. 【线束】制图标准(新)

【线束】制图标准(新)

发布时间:10/13 —— 2021 1005

规范性引用文件


GB 10609.1 技术制图 标题栏 

GB/T 14689 技术制图 图纸幅面和格式

GB/T 29106 汽车用低压电线束技术条件

QC/T 414 汽车用低压电线的颜色

Q/SQR.04.038 计算机机械制图规范


术语

01插接件

连接电器件与导线或导线与导线的连接器。

02
线束

由一根或数根导线、外覆保护层、插接件、插接件端子、固定卡子、支架组成的连接电器件的线路总称。

03
分支点

线束由一根分支出去的一根或几根线束中心线与主干中心线的交点,是线束尺寸检查的控制点。

04
包扎

为保护线束,在一束导线的外面覆盖波纹管、布胶带、PVC胶带、电碳管或海绵胶条,这种状态称为包扎,对于胶带按包扎方式可分为点缠、花缠、全缠。

05
支线

线束中电线的末端没有包扎的部分或单根电线。

06
接点

电线与电线的连接点,又称为打卡点。

通用规定

01连接列表
待定

连接列表是线束连接、导线规格及其路径描述的一个说明表格。
表格栏如表1:图片

图片

表格栏的高为:8.5mm


表格栏宽从左到右依次为:线号21mm,线径16mm,颜色16mm,起点16mm,孔位16mm,端子40mm,密封圈40mm、终点16mm,孔位16mm,端子40mm,密封圈40mm、备注40mm。
备注

线号:导线的地址标记,可以采用字母(最多2位)、数字(最多2位)或它们的组合,当为字母数字组合时字母必须放在开头。
线径:导线的截面积。
颜色:导线的颜色。G 绿色,R 红色,Y 黄色,Br 棕色,B 黑色,L 兰色, Gr 灰色,P 粉红色,Lg 浅绿色,V 紫色,O 橙色,W 白色,详细参阅QC/T414。
起点:导线从何插件起始。
孔位:导线在起始插件中位于第几个孔的位置。
端子号:匹配插件的端子号。
密封圈:匹配插件的密封圈号。
终点:导线到壳插件终止。
备注:导线类型。此项线型采用 规定第0层,字体采用4号HZ.txt。


02插接件
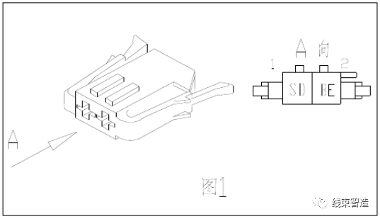
插接件画法

插接件视图方向如图1。
图片图片

线束图纸仅画出实物A向视图表示插件孔位、线号、定位销。
线型采用 规定第4层;内部导线代号采用 规定第4层,字体采用2号HZ.txt,优先根据用电器端或线束插件上本身的孔位号来定义孔位,如无法给出时按照图1所示从左至右对插件编号。

 

插接件的编号标志

插件的编号以A*(*代表自定义的数字)来表示,如插件有颜色区别需在插件编号后注明,如:A13(黑),此项字体采用中5号HZ.txt,线型采用0层;

 

每个插件必须有相对应的插件名称、插件号(参见插接件编号规则)标注于插件旁,此项字体采用中3号HZ.txt,线型采用0层。

 

其中插接件号应包括插件相对应的护套号(CONN)、锁片号(PLUG)、护盖号(COVER)、及插件自带的卡钉号(CLIP)等,如果不标明则认为没有。

 

04线束
绘图

线束主干、分支作图以 规定第4层线条画,分支点以直径2mm的实心圆表示,线束长度的标注以 规定第0层线条、第3号HZ.txt标注于线束支干一侧。
尺寸控制点以直径2mm的实心圆表示(此项标注以 规定第0层线条、当尺寸点与分支点重合时只标尺寸点)。

 

包扎

线束包扎以在线束分支、主干一侧以直径为6mm的空心圆里面填以 规定3号HZ.txt大写字母区别:

 

D1表开口波纹管包扎、D2代表闭口波纹管包扎;V代表PVC胶带全缠、V1代表PVC胶带花缠、V2代表PVC胶带点缠;C代表绒布胶带全缠、C1代表绒布胶带花缠、C2代表绒布胶带点缠;F1代表无纺布胶带全缠、F2代表无纺布胶带花缠、F3代表无纺布胶带点缠;CA代表耐高温电碳管保护,CO代表单皮管保护;
(此项标注以 规定第0层线条、3号HZ.txt标注);
注:如果同时用两种方式包扎(比如:用波纹管外加绒布胶带全缠)则两种包扎代号同时标注线束分支的一侧;不加注释则表示没有任何包扎。

 

支线长度与走向



若没有特别说明,支线长度按照 GB/T 29106 标准执行,图纸上分支的走向必须能正确代表实物。



接点
若没有特别说明,接点可根据工艺、装车工艺制定位置(遵照 GB/T29106 标准)。

 

接点:用长为6mm、宽为3的实心矩形表示(见图2),只需标明大概位置具体尺寸可不注明。
图片图片

 

如果线束采用接线器的接点方式,则必须给出A向视图,并对接点给予注明,如图3。


波纹管



波纹管以能完全包住导线,且保证导线的直径不小于波纹管3/4为原则,线束波纹管的直径不再给予特别标注。



屏蔽线、双绞线



屏蔽线、双绞线需在表1备注里面注明。



海绵胶块

 

海绵胶块:用长为6mm、宽为3的空心矩形框填以斜线表示并用(采用 规定的第4层线条),需用尺寸标明位置(此项标注以 规定第0层线条、3号HZ.txt标注)。



线束卡、橡胶件、水管、接头
图片图片

线束卡、橡胶件、水管、接头、线束盖板、继电器、保险丝等线束上的附带物,以其形状示意图画表示。
以直径为6mm的空心圆里面填以数字给予类型区别(格式同包扎方式)。

以明细表的方式注释数字对应的零件名称、零件号。

图片 

(图6)

标注以Q/SQR.04.038规定第4层线条,字体采用 规定第4号HZ.text,见图(6、7)。

 


标签
标签的表示用长为6mm、宽为3的空心矩形框表示,并用Q/SQR.04.038规定3号HZ.txt大写字母N.P进行标识(见图7)。
图片

(图7)



04技术要求

线束上如灌胶、标记等技术要求应直接在图纸上体现(见图6),其余技术要求沿用现有格式。
05
比例

线束图为示意图,此项不予标注。
图框参照Q/SQR.04.038规定。


UG
线束制图

参照UG制图规范。


产品推荐 Product recommendation

了解更多